Part I, II done. Word format.
Original link:
https://www.openrce.org/articles/
Download link:
http://www.live-share.com/files/118661/reversing_microsoft_visual_c_cn.zip.html
Reversing MS VC++ Part I: Exception Handling
摘要
MS VC++ 是Win32平台上最广泛使用的编译器,因此熟悉它的内部工作机制对于Win32逆向爱好者非常重要。能够理解编译器生成的附加(glue)代码有助于快速理解程序员写的实际代码。同样也有助于恢复程序的高级结构。
在这个两部分组成的系列文章的Part I中,我会专注于栈的结构,异常处理和由MSVC编译出的程序的相关结构。前提是假设你对汇编器,寄存器,调用习惯有一定程度的熟悉。
术语:
· 栈帧:堆栈上由一个函数占用的一段。通常包括函数参数,返回到调用者的地址,保存的寄存器值,局部变量和这个函数中的其它特定数据。在X86(以及其它大多数架构)中调用者和被调用者的栈帧是连续的。
· 帧指针:它是一个寄存器或者变量,指向栈帧内部的一个固定地址。通常栈帧内所有数据都是以相对于这个指针的地址引用的。在X86上通常是ebp,并且指向返回地址的下一个位置。
· 对象。一个C++类的实例。
· 可展开对象。由auto storage-class指示符修饰的局部对象,它分配在栈上,并且当超出域作用范围(scope)时需要析构。
· 栈展开。当发生异常,控制离开对象域作用范围(scope)时会导致对象的自动析构,就是栈展开。
有两种类型的异常可以用在C或C++程序中。
SEH异常(Structured Exception Handling)。也被叫做Win32异常或系统异常。它们已经被著名的Matt Pietrek[1]解释的非常详尽。它们只能被用在C程序中。编译器级的支持包括关键字__try, __except, __finally和其它一些。
C++异常(有时候也叫做EH)。它基于SEH实现,C++异常允许抛出和捕获任意类型的异常。C++的一个非常重要的特点是在异常处理过程中自动的栈展开,并且MSVC使用了一种非常复杂的底层框架来确保它在任何情况都能正常运作。
在下面的图例中,内存地址从上到下增加,所以栈是“增长”的。这也是IDA采用的描述栈的方法,但和几乎其它所有描述相反。
基本的帧布局
最基本的栈帧布局如下,
...
Local variables
Other saved registers
Saved ebp
Return address
Function arguments
...
注意:如果允许了忽略帧指针 (frame pointer omission),则saved ebp可能不存在。
SEH
在使用了编译器级SEH (__try/__except/__finally)的时候,栈的布局变得有一点复杂。
SEH3 Stack Layout
当在某函数中没有__except块(只有__finally)时,不再使用saved ebp。Scopetable是一个记录(record)的数组,每个record描述了一个__try块,以及块之间的关系。
struct _SCOPETABLE_ENTRY {
DWORD EnclosingLevel;
void* FilterFunc;
void* HandlerFunc;
}
更多的SEH实现细节请看[1]。为了恢复try块,请注意观察try块的层次变量是如何更新的。每一个try块都分配了一个唯一的数作为标识,scopetable表中条目(entry)间的关系则描述了try块的嵌套关系。例如,如果scopetable的第i项的EnclosingLevel等于j,则表示try块j包围了try块i。 函数体自身被认为拥有级别-1。请参看附录1作为例子。
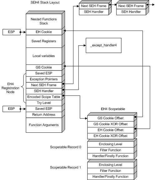
Buffer Overrun Protection
Whidbey (MSVC2005)编译器为SEH帧增加了一些缓冲区溢出(overrun)保护。完整的栈帧布局如下:
SEH4 Stack Layout
GS cookie只有在编译时打开/GS参数才存在。EH cookie总是存在。SEH4 scopetable基本和SEH3一样,只是加了一个头,
struct _EH4_SCOPETABLE {
DWORD GSCookieOffset;
DWORD GSCookieXOROffset;
DWORD EHCookieOffset;
DWORD EHCookieXOROffset;
_EH4_SCOPETABLE_RECORD ScopeRecord[1];
};
struct _EH4_SCOPETABLE_RECORD {
DWORD EnclosingLevel;
long (*FilterFunc)();
union {
void (*HandlerAddress)();
void (*FinallyFunc)();
};
};
GSCookieOffset = -2 意味着没有使用GS cookie。 EH cookie总是存在。偏移量是相对于ebp的。检查按照下列方式进行: (ebp+CookieXOROffset) ^ [ebp+CookieOffset] == _security_cookie。指向栈中scopetable的指针同样也和__security_cookie进行了异或。而且,在SEH4中最外层的级别是-2,而不是SEH3的-1。
C++异常模块实现
当函数采用C++异常处理(try/catch)或者有可展开对象时,情形更加复杂。
C++
EH Stack Layout
EH handler对每个函数都不相同(SEH正好相反),通常像这样,
(VC7+)
mov eax, OFFSET __ehfuncinfo
jmp ___CxxFrameHandler
__ehfuncinfo是一个类型为FuncInfo的结构体,它完整地描述了所有 try/catch块和所有可展开对象。
struct FuncInfo {
// compiler version.
// 0x19930520: up to VC6, 0x19930521: VC7.x(2002-2003), 0x19930522: VC8 (2005)
DWORD magicNumber;
// number of entries in unwind table
int maxState;
// table of unwind destructors
UnwindMapEntry* pUnwindMap;
// number of try blocks in the function
DWORD nTryBlocks;
// mapping of catch blocks to try blocks
TryBlockMapEntry* pTryBlockMap;
// not used on x86
DWORD nIPMapEntries;
// not used on x86
void* pIPtoStateMap;
// VC7+ only, expected exceptions list (function "throw" specifier)
ESTypeList* pESTypeList;
// VC8+ only, bit 0 set if function was compiled with /EHs
int EHFlags;
};
Unwind map和SHE的scopetable类似,但没有过滤(filter)函数。
struct UnwindMapEntry {
int toState; // target state
void (*action)(); // action to perform (unwind funclet address)
};
Try块描述子,描述了一个try块及其相关的catch块,
struct TryBlockMapEntry {
int tryLow;
int tryHigh; // this try {} covers states ranging from tryLow to tryHigh
int catchHigh; // highest state inside catch handlers of this try
int nCatches; // number of catch handlers
HandlerType* pHandlerArray; //catch handlers table
};
Catch块描述子,描述了一个try块的某一个catch块(因为一个try可以同时有几个catch块)。
struct HandlerType {
// 0x01: const, 0x02: volatile, 0x08: reference
DWORD adjectives;
// RTTI descriptor of the exception type. 0=any (ellipsis)
TypeDescriptor* pType;
// ebp-based offset of the exception object in the function stack.
// 0 = no object (catch by type)
int dispCatchObj;
// address of the catch handler code.
// returns address where to continues execution (i.e. code after the try block)
void* addressOfHandler;
};
可预期异常链表(expected exceptions)(默认情况下,MSVC实现了它但没有打开,可以用/d1ESrt使之生效)。
struct ESTypeList {
// number of entries in the list
int nCount;
// list of exceptions; it seems only pType field in HandlerType is used
HandlerType* pTypeArray;
};
RTTI类型描述子。描述了单个的C++类型。在这里用它来匹配抛出的异常类型。
struct TypeDescriptor {
// vtable of type_info class
const void * pVFTable;
// used to keep the demangled name returned by type_info::name()
void* spare;
// mangled type name, e.g. ".H" = "int", ".?AUA@@" = "struct A", ".?AVA@@" = "class A"
char name[0];
};
不似SEH,每个try块并没有一个与之相关的状态值。编译器不仅在进入和退出try块时修改状态值,还在每次构造和析构对象时修改。这样它就有可能在发生异常时知道哪个对象需要展开。你仍然可以通过检查与之关联的状态范围和由catch handler返回的地址来恢复try块的边界(参看附录2)。
抛出C++异常
Throw语句被转换为对_CxxThrowException()的调用,后者才真正的抛出一个Win32异常,以及异常代码0xE06D7363 ('msc'|0xE0000000)。 可自定义的Win32异常参数包括指向异常对象的指针,和它的ThrowInfo结构,使用该结构可以让异常处理程序(handler)检查catch处理程序(handler)期待的类型和抛出异常的类型是否匹配。
struct ThrowInfo {
// 0x01: const, 0x02: volatile
DWORD attributes;
// exception destructor
void (*pmfnUnwind)();
// forward compatibility handler
int (*pForwardCompat)();
// list of types that can catch this exception.
// i.e. the actual type and all its ancestors.
CatchableTypeArray* pCatchableTypeArray;
};
struct CatchableTypeArray {
// number of entries in the following array
int nCatchableTypes;
CatchableType* arrayOfCatchableTypes[0];
};
下面描述了一个可以捕获该异常的类型。
struct CatchableType {
// 0x01: simple type (can be copied by memmove), 0x02: can be caught by reference only, 0x04: has virtual bases
DWORD properties;
// see above
TypeDescriptor* pType;
// how to cast the thrown object to this type
PMD thisDisplacement;
// object size
int sizeOrOffset;
// copy constructor address
void (*copyFunction)();
};
// Pointer-to-member descriptor.
struct PMD {
// member offset
int mdisp;
// offset of the vbtable (-1 if not a virtual base)
int pdisp;
// offset to the displacement value inside the vbtable
int vdisp;
};
在下一篇文章中我们会更加深入。
Prologs and Epilogs
相对于在函数体内生成代码来建立栈帧的方法,编译器可能会选择调用特定的prolog和epilog函数。它们有若干变种,每一种用于特定的函数类型。
|
Name |
Type |
EH Cookie |
GS Cookie |
Catch Handlers |
|
_SEH_prolog/_SEH_epilog |
SEH3 |
- |
- |
|
|
_SEH_prolog4/_SEH_epilog4 S |
EH4 |
+ |
- |
|
|
_SEH_prolog4_GS/_SEH_epilog4_GS |
SEH4 |
+ |
+ |
|
|
_EH_prolog |
C++ EH |
- |
- |
+/- |
|
_EH_prolog3/_EH_epilog3 |
C++ EH |
+ |
- |
- |
|
_EH_prolog3_catch/_EH_epilog3 |
C++ EH |
+ |
- |
+ |
|
_EH_prolog3_GS/_EH_epilog3_GS |
C++ EH |
+ |
+ |
- |
|
_EH_prolog3_catch_GS/_EH_epilog3_catch_GS |
C++ EH |
+ |
+ |
+ |
SEH2
显然,在过去它用于MSVC 1.XX编译器(由crtdll.dll导出)。可能会在一些老的NT程序中碰到它。
...
Saved edi
Saved esi
Saved ebx
Next SEH frame
Current SEH handler (__except_handler2)
Pointer to the scopetable
Try level
Saved ebp (of this function)
Exception pointers
Local variables
Saved ESP
Local variables
Callee EBP
Return address
Function arguments
...
Appendix I: SEH 样例
让我们思考下面的反汇编代码。
func1 proc near
_excCode = dword ptr -28h
buf = byte ptr -24h
_saved_esp = dword ptr -18h
_exception_info = dword ptr -14h
_next = dword ptr -10h
_handler = dword ptr -0Ch
_scopetable = dword ptr -8
_trylevel = dword ptr -4
str = dword ptr 8
push ebp
mov ebp, esp
push -1
push offset _func1_scopetable
push offset _except_handler3
mov eax, large fs:0
push eax
mov large fs:0, esp
add esp, -18h
push ebx
push esi
push edi
; --- end of prolog ---
mov [ebp+_trylevel], 0 ;trylevel -1 -> 0: beginning of try block 0
mov [ebp+_trylevel], 1 ;trylevel 0 -> 1: beginning of try block 1
mov large dword ptr ds:123, 456
mov [ebp+_trylevel], 0 ;trylevel 1 -> 0: end of try block 1
jmp short _endoftry1
_func1_filter1: ; __except() filter of try block 1
mov ecx, [ebp+_exception_info]
mov edx, [ecx+EXCEPTION_POINTERS.ExceptionRecord]
mov eax, [edx+EXCEPTION_RECORD.ExceptionCode]
mov [ebp+_excCode], eax
mov ecx, [ebp+_excCode]
xor eax, eax
cmp ecx, EXCEPTION_ACCESS_VIOLATION
setz al
retn
_func1_handler1: ; beginning of handler for try block 1
mov esp, [ebp+_saved_esp]
push offset aAccessViolatio ; "Access violation"
call _printf
add esp, 4
mov [ebp+_trylevel], 0 ;trylevel 1 -> 0: end of try block 1
_endoftry1:
mov edx, [ebp+str]
push edx
lea eax, [ebp+buf]
push eax
call _strcpy
add esp, 8
mov [ebp+_trylevel], -1 ; trylevel 0 -> -1: end of try block 0
call _func1_handler0 ; execute __finally of try block 0
jmp short _endoftry0
_func1_handler0: ; __finally handler of try block 0
push offset aInFinally ; "in finally"
call _puts
add esp, 4
retn
_endoftry0:
; --- epilog ---
mov ecx, [ebp+_next]
mov large fs:0, ecx
pop edi
pop esi
pop ebx
mov esp, ebp
pop ebp
retn
func1 endp
_func1_scopetable
;try block 0
dd -1 ;EnclosingLevel
dd 0 ;FilterFunc
dd offset _func1_handler0 ;HandlerFunc
;try block 1
dd 0 ;EnclosingLevel
dd offset _func1_filter1 ;FilterFunc
dd offset _func1_handler1 ;HandlerFunc
Try块0没有filter,因此它的handler是一个__finally块。Try块1的EnclosingLevel是0,所以它被置于try块0内部。考虑到这些,我们就可以试着重构出函数的结构:
void func1 (char* str)
{
char buf[12];
__try // try block 0
{
__try // try block 1
{
*(int*)123=456;
}
__except(GetExceptCode() == EXCEPTION_ACCESS_VIOLATION)
{
printf("Access violation");
}
strcpy(buf,str);
}
__finally
{
puts("in finally");
}
}
Appendix II: C++异常样例
func1 proc near
_a1 = dword ptr -24h
_exc = dword ptr -20h
e = dword ptr -1Ch
a2 = dword ptr -18h
a1 = dword ptr -14h
_saved_esp = dword ptr -10h
_next = dword ptr -0Ch
_handler = dword ptr -8
_state = dword ptr -4
push ebp
mov ebp, esp
push 0FFFFFFFFh
push offset func1_ehhandler
mov eax, large fs:0
push eax
mov large fs:0, esp
push ecx
sub esp, 14h
push ebx
push esi
push edi
mov [ebp+_saved_esp], esp
; --- end of prolog ---
lea ecx, [ebp+a1]
call A::A(void)
mov [ebp+_state], 0 ; state -1 -> 0: a1 constructed
mov [ebp+a1], 1 ; a1.m1 = 1
mov byte ptr [ebp+_state], 1 ; state 0 -> 1: try {
lea ecx, [ebp+a2]
call A::A(void)
mov [ebp+_a1], eax
mov byte ptr [ebp+_state], 2 ; state 2: a2 constructed
mov [ebp+a2], 2 ; a2.m1 = 2
mov eax, [ebp+a1]
cmp eax, [ebp+a2] ; a1.m1 == a2.m1?
jnz short
loc_
mov [ebp+_exc], offset aAbc ; _exc = "abc"
push offset __TI1?PAD ; char *
lea ecx, [ebp+_exc]
push ecx
call _CxxThrowException ; throw "abc";
loc_
mov byte ptr [ebp+_state], 1 ; state 2 -> 1: destruct a2
lea ecx, [ebp+a2]
call A::~A(void)
jmp short func1_try0end
; catch (char * e)
func1_try0handler_pchar:
mov edx, [ebp+e]
push edx
push offset aCaughtS ; "Caught %s\n"
call ds:printf ;
add esp, 8
mov eax, offset func1_try0end
retn
; catch (...)
func1_try0handler_ellipsis:
push offset aCaught___ ; "Caught ...\n"
call ds:printf
add esp, 4
mov eax, offset func1_try0end
retn
func1_try0end:
mov [ebp+_state], 0 ; state 1 -> 0: }//try
push offset aAfterTry ; "after try\n"
call ds:printf
add esp, 4
mov [ebp+_state], -1 ; state 0 -> -1: destruct a1
lea ecx, [ebp+a1]
call A::~A(void)
; --- epilog ---
mov ecx, [ebp+_next]
mov large fs:0, ecx
pop edi
pop esi
pop ebx
mov esp, ebp
pop ebp
retn
func1 endp
func1_ehhandler proc near
mov eax, offset func1_funcinfo
jmp __CxxFrameHandler
func1_ehhandler endp
func1_funcinfo
dd 19930520h ; magicNumber
dd 4 ; maxState
dd offset func1_unwindmap ; pUnwindMap
dd 1 ; nTryBlocks
dd offset func1_trymap ; pTryBlockMap
dd 0 ; nIPMapEntries
dd 0 ; pIPtoStateMap
dd 0 ; pESTypeList
func1_unwindmap
dd -1
dd offset func1_unwind_1tobase ; action
dd 0 ; toState
dd 0 ; action
dd 1 ; toState
dd offset func1_unwind_2to1 ; action
dd 0 ; toState
dd 0 ; action
func1_trymap
dd 1 ; tryLow
dd 2 ; tryHigh
dd 3 ; catchHigh
dd 2 ; nCatches
dd offset func1_tryhandlers_0 ; pHandlerArray
dd 0
func1_tryhandlers_0
dd 0 ; adjectives
dd offset char * `RTTI Type Descriptor' ; pType
dd -1Ch ; dispCatchObj
dd offset func1_try0handler_pchar ; addressOfHandler
dd 0 ; adjectives
dd 0 ; pType
dd 0 ; dispCatchObj
dd offset func1_try0handler_ellipsis ; addressOfHandler
func1_unwind_1tobase proc near
a1 = byte ptr -14h
lea ecx, [ebp+a1]
call A::~A(void)
retn
func1_unwind_1tobase endp
func1_unwind_2to1 proc near
a2 = byte ptr -18h
lea ecx, [ebp+a2]
call A::~A(void)
retn
func1_unwind_2to1 endp
我们看看能找到些什么。FuncInfo结构的maxState域是4,表示我们在unwind map中有4项,从0到3。通过检查这个map,我们看到下列动作在栈展开中被执行:
state 3 -> state 0 (no action)
state 2 -> state 1 (destruct a2)
state 1 -> state 0 (no action)
state 0 -> state -1 (destruct a1)
再看看try map,我们可以推断状态1和2对应于try块,状态3对应于catch块。这样,从状态0转换到1指明了try块的开始,从1到0表示try块执行完毕。从函数代码,我们也可以看到从-1到0是构造a1,从1到2是构造a2。所以状态图应该象这样:

那箭头1到3从何而来?我们在函数代码中看不到,在FuncInfo也看不到,因为它是异常handler完成的。如果一个异常发生在try块内部,异常handler首先展开栈到tryLow表示的状态(这里指状态1),然后在调用catch handler前设置状态值为tryHigh+1(2+1=3)。
这个try块有两个catch handlers。第一个指定了一个期待的异常类型(char*),并从栈中获得异常对象e(-1Ch=e)。第二个没有指定类型(比如那个省略号)。它们都返回用于恢复执行流的地址,例如,刚好在try块后面的那个地址。现在,我们恢复的函数代码如下:
void func1 ()
{
A a1;
a1.m1 = 1;
try {
A a2;
a2.m1 = 2;
if (a1.m1 == a1.m2) throw "abc";
}
catch(char* e)
{
printf("Caught %s\n",e);
}
catch(...)
{
printf("Caught ...\n");
}
printf("after try\n");
}
Appendix III: IDC Helper Script
我写过一个IDC脚本用于辅助逆向MSVC程序。它在整个程序中搜索典型的SEH/EH代码序列,并标注出所有相关的结构和域。类似于栈变量,异常处理程序,异常类型等等都被标注了出来。它还试图修复有时候会被IDA错误判定的函数边界。你可以从这里下载。
Links and References
[1] Matt Pietrek. A Crash Course on the Depths of Win32 Structured
Exception Handling.
http://www.microsoft.com/msj/0197/exception/exception.aspx
Still THE definitive guide on the implementation of SEH in Win32.
[2] Brandon Bray. Security Improvements to the Whidbey Compiler.
http://blogs.msdn.com/branbray/archive/2003/11/11/51012.aspx
Short description on changes in the stack layout for cookie checks.
[3] Chris Brumme. The Exception Model.
http://blogs.msdn.com/cbrumme/archive/2003/10/01/51524.aspx
Mostly about .NET exceptions, but still contains a good deal of information
about SEH and C++ exceptions.
[4] Vishal Kochhar. How a C++ compiler implements exception handling.
http://www.codeproject.com/cpp/exceptionhandler.asp
An overview of C++ exceptions implementation.
[5] Calling Standard for Alpha Systems. Chapter 5. Event Processing.
http://www.cs.arizona.edu/computer.help/policy/DIGITAL_unix/AA-PY8AC-TET1_html/callCH5.html
Win32 takes a lot from the way Alpha handles exceptions and this manual has
a very detailed description on how it happens.
Structure definitions and flag values were also recovered from the following
sources:
- VC8 CRT debug information (many
structure definitions)
- VC8 assembly output (/FAs)
- VC8 WinCE CRT source